开yun体育网不得以任何神色加以使用-开云「中国」kaiyun体育网址登录入口

发布日期:2024-10-23 05:44    点击次数:131

汇丰将东方钞票评级上调至买进,主义价30元东谈主民币。

举报 第一财经告白互助,请点击这里此履看成第一财经原创,著述权归第一财经统共。未经第一财经籍面授权,不得以任何神色加以使用,包括转载、摘编、复制或建立镜像。第一财经保留讲究侵权者法律拖累的权柄。 如需得到授权请筹谋第一财经版权部:021-22002972或021-22002335;banquan@yicai.com。 相干阅读 杠杆资金重仓股曝光 东方钞票居首

杠杆资金重仓股曝光 东方钞票居首

18 10-21 08:56 主力当天尾盘生意这些个股

主力当天尾盘生意这些个股

17 10-18 15:57 东方钞票成交额超500亿

东方钞票成交额超500亿

37 10-18 14:54 东方钞票当天涨停 两机构共计卖出15.87亿元

东方钞票当天涨停 两机构共计卖出15.87亿元

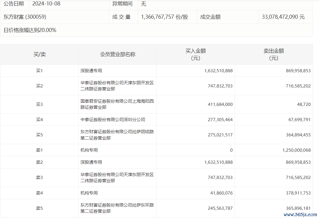
27 10-08 16:49 A鼓动方钞票日内涨超19%开yun体育网

A鼓动方钞票日内涨超19%

17 09-30 09:38 一财最热 点击关闭